news

行业资讯

2023-10-07

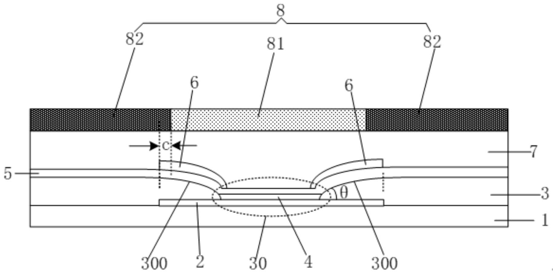
京东方“显示面板”专利公布

集微网消息,天眼查显示,京东方“显示面板”专利公布,申请公布日为10月3日,申请公布号为CN116847694A。该专利的专利权人为京东方科技集团股份有…

咨询报价

您找到合适的产品了吗 立刻联系我们获取个性化报价?